Canon Patents Another Crazy Lens

Standard has been delivering some powerfully noteworthy focal points since the time they originally plunged their toes into the expert mirrorless market, and it would seem that they are giving no indications of halting. The organization as of late recorded licenses for three new focal points, with one of them being one more that pushes the limits of plan.

 

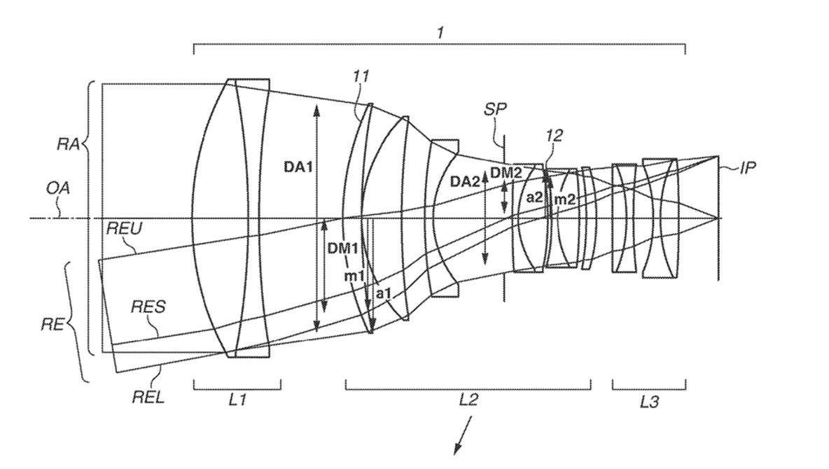
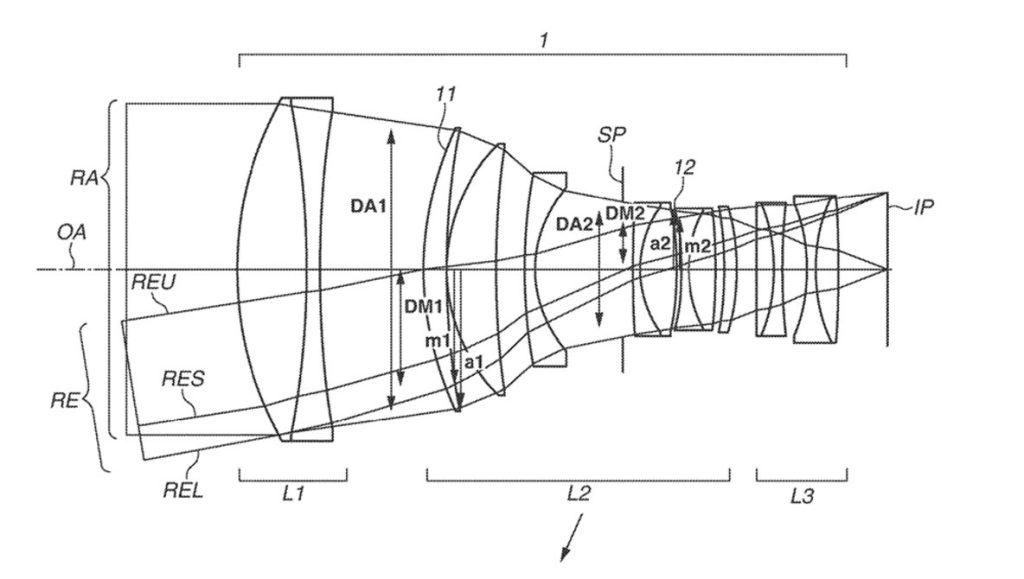
At the point when Canon originally ventured into the expert mirrorless market, they carried with them the RF 28-70mm f/2L USM, the world’s first full casing standard long range focal point with a steady most extreme gap of f/2. From that point forward, they have been proceeding to deliver some heavenly focal points, and their most recent patent documenting shows they are not easing back down. The licenses incorporate filings for 24mm f/1.4L and 135mm f/2L focal points, however the genuine superstar is the 130mm f/1.4L. We have seen a couple of 135mm f/1.8 focal points lately, however a f/1.4 form would be another 66% of a stop more extensive and would probably be a bokeh beast. It is important that both the front and back components of the focal point are apodized, which means bokeh would be extraordinarily smooth and demonstrating that Canon expects such a focal point to be utilized as a superior representation model, not a low-light games or untamed life gadget. Obviously, recording a patent doesn’t mean we will in the long run see such a focal point make it to the market, yet Canon’s 2021 guide really shows such a plan, and given how they have been pushing limits, I wouldn’t be shocked on the off chance that we see it ultimately.